Marina SUA are un brevet pentru o navă spaţială avansată care seamănă cu un farfurie zburătoare / OZN. Inginerii militari au depus planuri pentru o mașină zburătoare extrem de neobișnuită, care utilizează un „dispozitiv de reducere a masei inerțiale“ şi care se deplasează la viteze „extreme“. Ceea ce înseamnă că aeronava utilizează o tehnologie complexă pentru a reduce masa și astfel a diminua inerția (rezistența unui obiect la mișcare), de aici rezultând viteze foarte mari. Brevetul este foarte complex și descrie metode de reducere a masei unei aeronave folosind diferite tehnici, inclusiv generarea undelor de gravitație, după care au fost detectate pentru prima dată în 2016 atunci când două găuri negre s-au ciocnit.
„Este posibil să se reducă masa inerțială și, prin urmare, masa gravitațională, a sistemului / obiectului aflat în mișcare, printr-o perturbație bruscă a spațiului-timpului local“, spune brevetul. Aeronava descrisă în brevet prezintă o cavitate umplută cu gaz, care este apoi făcută să vibreze folosindu-se unde electromagnetice puternice. Acest lucru creează un vid în jurul aeronavei, permițându-i să fie propulsată la viteze mari.
Aeronava de tip OZN poate fi folosită în apă, aer sau chiar în spațiul cosmic. „Este posibil ca această aeronavă să fie una hibridă aerospațială / submarină, care, datorită mecanismelor fizice activate cu dispozitivul de reducere a masei inerțiale, poate funcționa ca o aeronavă submersibilă capabilă de viteze subacvatice extreme și capabilă de invizibilitate“, brevetul continuă. „Această aeronavă hibrid s-ar deplasa cu mare ușurință prin aer / spațiu / apă, fiind închisă într-un balon cu plasmă vid”.
Deși Marina Americană a solicitat brevetul în 2016 și a fost acordat în 2018, asta nu înseamnă că aeronava a fost construită și testată. Cu toate acestea, tehnologia reprezintă o dovadă suplimentară a interesului militar pentru dezvoltarea tehnologiilor „exotice”.
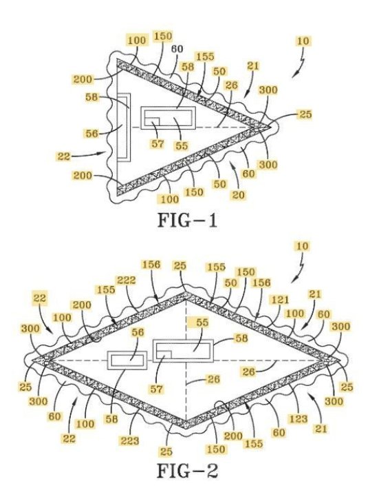
Patentul poate fi găsit AICI. Schiţele generale pot fi văzute în imaginile de mai jos:
Din 2008, cercetam si cautam adevarul in domenii precum istoria, religia sau metafizica. Am publicat peste 15.000 de articole; munca este imensa, dar si costurile aferente sunt foarte mari. Publicitatea Google Adsense nu acopera toate costurile, iar pentru a continua munca si proiectul, avem nevoie de ajutorul vostru. Orice donatie conteaza, indiferent de suma. Toti banii stransi se vor duce catre acest proiect, dar si pentru cercetarea unor subiecte controversate din istorie, inclusiv cercetari genealogice. Va multumim din suflet!
DONATI prin PAYPAL:
DONATI prin CONT BANCAR (ING BANK):
- Cont LEI: RO53INGB0000999917643869
- Titular: ASOCIATIA GENIA - GENEALOGIE SI ISTORIE CUI:51669957
- Email: contact@genia.ro
- Nr.inregistrare Min.Justitiei: 1036/A/2025













